坦白說,其實能找到這張圖純屬意外,貼完上一篇文章還想問Mohan 2003年發表的能取又能種的植髮機器人跟ARTAS有何關聯,沒想到今天在搜尋implant graft的字眼時竟然就跑出這張設計圖還有Dr. Gildenberg的名字,只能說真是有緣。
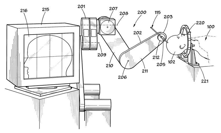
Anyway , 言歸正傳,這是Dr. Philip Gildenberg(吉丹伯格) 在2003年七月申請美國專利的設計圖。也就是上一篇貼文的休士頓神經外科醫師。
有一天Dr. Gildenberg跟當皮膚科醫師的外甥女共進晚餐時閒聊到植髮手術是如何費時費力,Dr. Gildenberg靈機一動想說每天都在使用影像定位技術及機器人在病人腦袋裡插好幾根針,為什麼不能用同樣的技術在病人頭上插幾根毛。於是他很快的寫好了專利申請書申請專利,並把想法及專利帶到了由幾個神經外科醫師在加州矽谷剛成立的公司 Accuray。
Accuray的第一個產品就是以機器手臂配合精準定位來執行一次性放射治療的電腦刀(CyberKnife)。
當時Accuray 研發副總裁也是CyberKnife的發明人Dr. Mohan Bodduluri 對Dr. Gildenberg的想法極感興趣,可是Accuray 公司才剛起步又馬上要投入另一個完全陌生的市場,代表得承擔更大的風險。
但不愧是充滿創業氛圍的矽谷,Dr. Bodduluri 等Accuray 成功開拓出市場後便跟Accuray 擔任CEO的Dr. Don Caddes 決定要出來創業。
有構想,技術還不夠,最重要的還得要有資金。而他們也找到了創立Hansen Medical及 Intuitive Surgical Inc.的Dr. Frederic Moll,Dr. Moll 本身也是醫師,同時也是Stanford 的管理碩士,手下的公司Hansen Medical也是專精定位及機器手臂的醫療儀器公司。
就這樣植髮機器人的F4全員到期,展新的構想(Dr. Phil Gildenberg, M.D.),高端的技術(Dr. Mohan Bodduluri , PhD),創意的執行(Dr Don Caddes, PhD),以及不可或缺的銀彈(Dr. Frederic Moll, M.D.)也成立了新的公司Restoration Robotics,為植髮醫學的進步展開了序幕。

